客服:
财务:
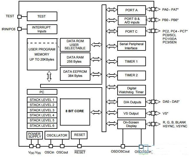
服务时间 :09:00-19:00ST6388是意法半导体公司(STMicroelectronics)出品的一款低成本电视专用微处理器。它是ET638X系列8位HCM0S微处理器中的一种。该系列的MCU都在一个共同的核周围集成了定时器、脉宽调制(PWM)输出、串行外设接口(SPI)、屏幕显示(oSC)控制及ROM、RAM和片内EEPROM等,因而具有类似的结构,可多种配置以获得最佳的成本控制。
1、用4.5v~6V供电,采用8MHz晶振;
2、片内R0M:20140字节;
3、片内RAM:256字节;
4、片内EEPRoM:384字节;
5、具有22个可编程通用I/0口,其中2个可直接驱动LED;
6、片内有2个带7位可编程预分频器的8位定时器:
7、有数字看门狗功能;
8、串行外设接口支持S一总线、Pc总线和标准串行协议;
9、具有14位PWM输出,可用于电压合成调谐;
10、带有6路6位PWMD/A输出;
11、有7路选1路8位A/D输入;
12、有5个中断向量(IR接收或NMI,TIMER1和2,场消隐,电源监控或ADC)
13、能进行8行2O列字符屏幕显示,可显示192个14×18字符,有阴影、包边、圆滑等功能,用户可编写芯片的字符集:
14、有与ROM片脚对脚兼容的EPROM和OTP片及完备的软硬件开发工具。
